USP Icon
Zapłać po dostawie
USP Icon
Klienci oceniają Zandri na 9
USP Icon
Ponad 100 000 części w asortymencie

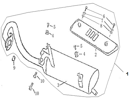
Wydech Vom Bella antracyt

Wydech Vom Bella antracyt
loader
Ładowanie...

Części zamienne Vom Bella antracyt