USP Icon
Zapłać po dostawie
USP Icon
Klienci oceniają Zandri na 9
USP Icon
Ponad 100 000 części w asortymencie

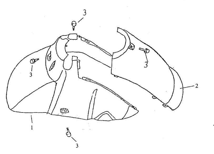
Błotnik przedni Vom Bella antracyt

Błotnik przedni Vom Bella antracyt
loader
Ładowanie...