USP Icon
Zapłać po dostawie
USP Icon
Klienci oceniają Zandri na 9
USP Icon
Ponad 100 000 części w asortymencie

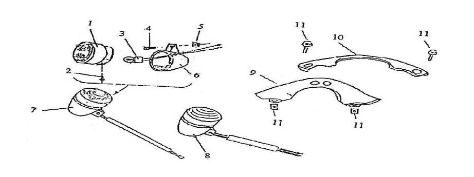
kierunkowskazy Turbo RG50 125cc

kierunkowskazy Turbo RG50 125cc
loader
Ładowanie...