USP Icon
Zapłać po dostawie
USP Icon
Klienci oceniają Zandri na 9
USP Icon
Ponad 100 000 części w asortymencie

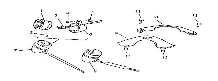
kierunkowskazy Berini Bella Milano 125cc

kierunkowskazy Berini Bella Milano 125cc
loader
Ładowanie...