USP Icon
Zapłać po dostawie
USP Icon
Klienci oceniają Zandri na 9
USP Icon
Ponad 100 000 części w asortymencie

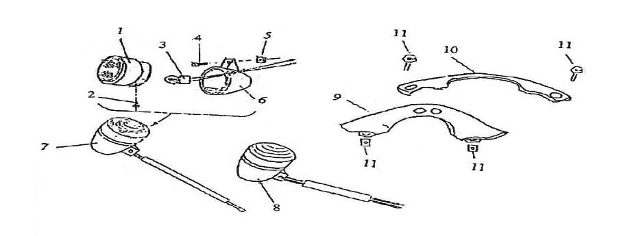
Wskaźniki AGM Retro 125cc

Wskaźniki AGM Retro 125cc
loader
Ładowanie...