USP Icon
Zapłać po dostawie
USP Icon
Klienci oceniają Zandri na 9
USP Icon
Ponad 100 000 części w asortymencie

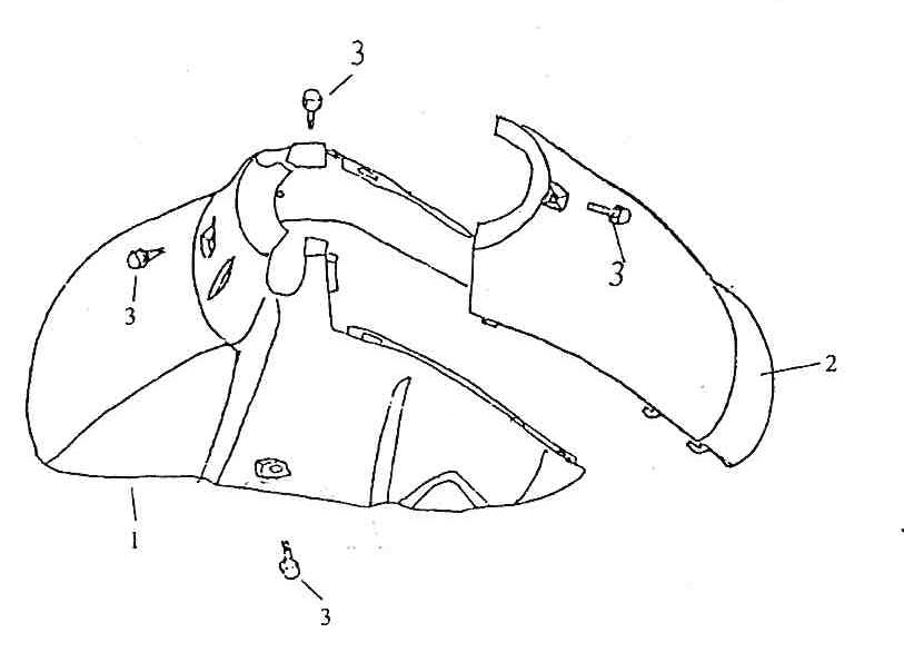
Błotnik przedni Pronto Amaro creme

Błotnik przedni Pronto Amaro creme
loader
Ładowanie...

Pronto Amaro Euro2 <2018