USP Icon
Zapłać po dostawie
USP Icon
Klienci oceniają Zandri na 9
USP Icon
Ponad 100 000 części w asortymencie

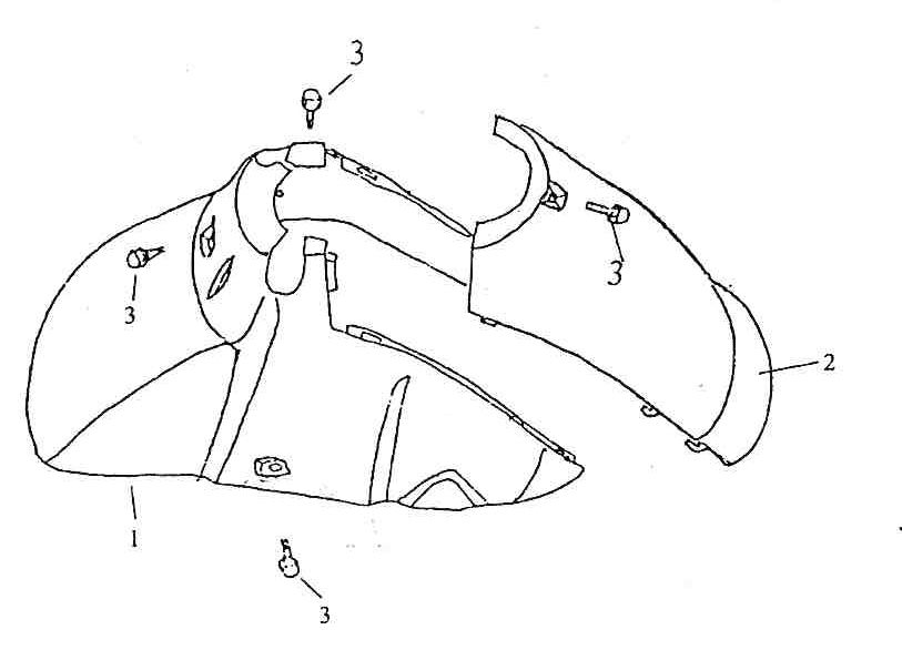
Błotnik przedni BTC Grande Retro czerwony

Błotnik przedni BTC Grande Retro czerwony
loader
Ładowanie...

Części zamienne BTC Grande Retro czerwony