USP Icon
Zapłać po dostawie
USP Icon
Klienci oceniają Zandri na 9
USP Icon
Ponad 100 000 części w asortymencie

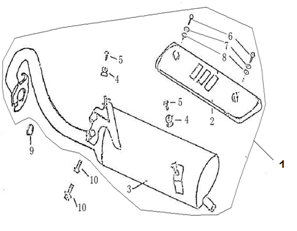
Wydech Turbo RG50 niebieski kremowy

Wydech Turbo RG50 niebieski kremowy
loader
Ładowanie...

Części zamienne Turbho RG50 niebieski beżowy