USP Icon
Zapłać po dostawie
USP Icon
Klienci oceniają Zandri na 9
USP Icon
Ponad 100 000 części w asortymencie

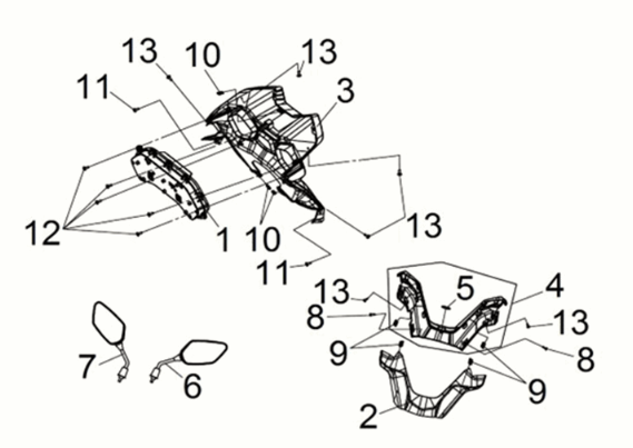
Speedometer - handle cover Sym Joymax Z 125i E5 2022

Speedometer - handle cover Sym Joymax Z 125i E5 2022
loader
Ładowanie...

Sym Joymax Z 125i E5 2022 SUBMARINE GREY (GY7547UL)