USP Icon
Zapłać po dostawie
USP Icon
Klienci oceniają Zandri na 9
USP Icon
Ponad 100 000 części w asortymencie

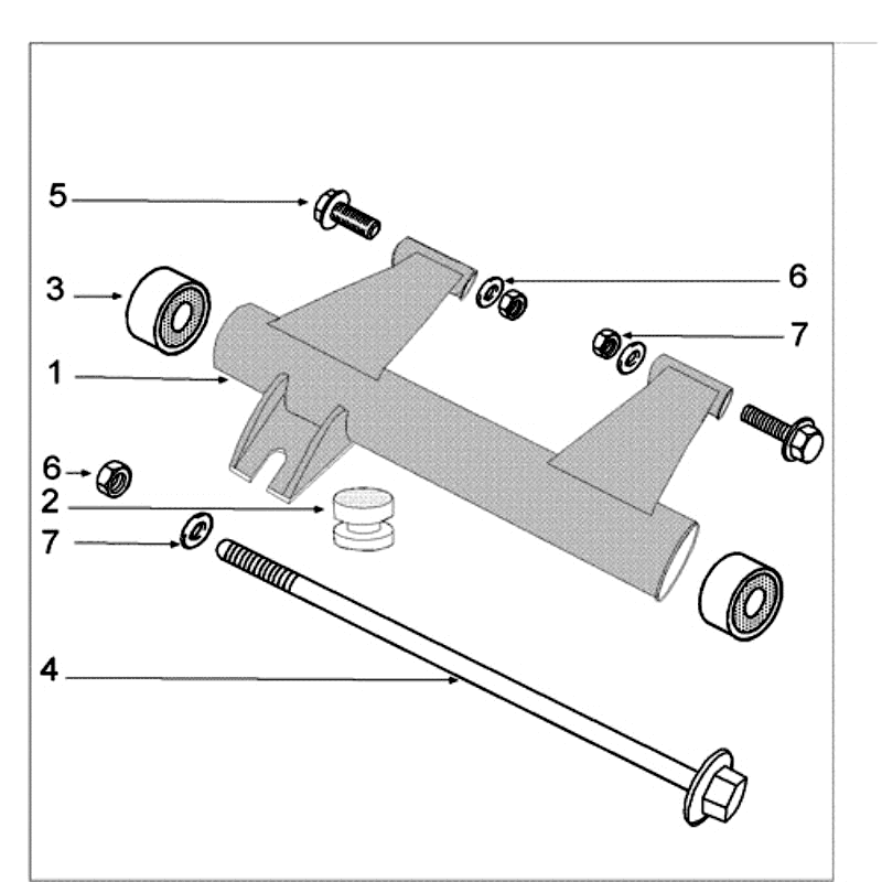
Zawieszenie Silnika Peugeot Kisbee RS Biały

Zawieszenie Silnika Peugeot Kisbee RS Biały
loader
Ładowanie...