USP Icon
Zapłać po dostawie
USP Icon
Klienci oceniają Zandri na 9
USP Icon
Ponad 100 000 części w asortymencie

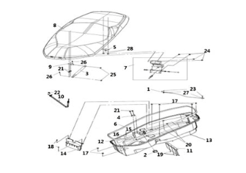
Seat Sym Joymax Z 125 E4

Seat Sym Joymax Z 125 E4
loader
Ładowanie...

SYM Joymax Z 125i CBS E4 2019-2020 RED (R-010CA)