USP Icon
Zapłać po dostawie
USP Icon
Klienci oceniają Zandri na 9
USP Icon
Ponad 100 000 części w asortymencie

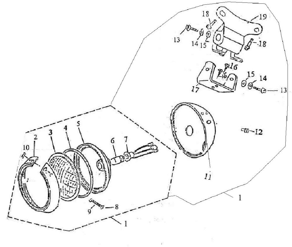
Lampa przedni Vom Bella niebieska biała

Lampa przedni Vom Bella niebieska biała
loader
Ładowanie...

Części zamienne Vom Bella niebieski biały