USP Icon
Zapłać po dostawie
USP Icon
Klienci oceniają Zandri na 9
USP Icon
Ponad 100 000 części w asortymencie

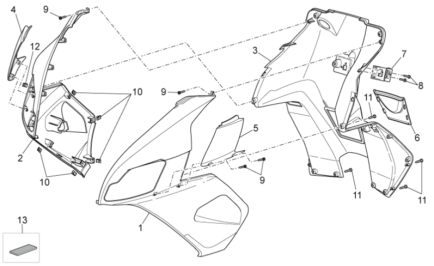
Osłony przednie III Aprilia SR 50 H2O ie+carb 2004-2009 zielone

Osłony przednie III Aprilia SR 50 H2O ie+carb 2004-2009 zielone
loader
Ładowanie...

Aprilia SR 50 H2O ie+carb 2004-2009 zielony