USP Icon
Zapłać po dostawie
USP Icon
Klienci oceniają Zandri na 9
USP Icon
Ponad 100 000 części w asortymencie

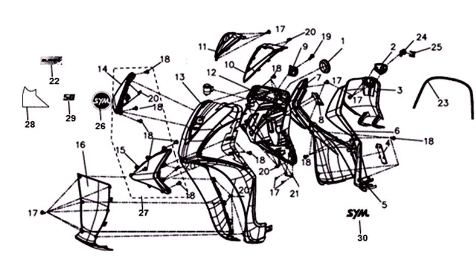
Płytka przednia Wskaźniki Płytki Wewnętrznej Sym Symphony ST euro4 Niebieski

Płytka przednia Wskaźniki Płytki Wewnętrznej Sym Symphony ST euro4 Niebieski
loader
Ładowanie...