USP Icon
Zapłać po dostawie
USP Icon
Klienci oceniają Zandri na 9
USP Icon
Ponad 100 000 części w asortymencie

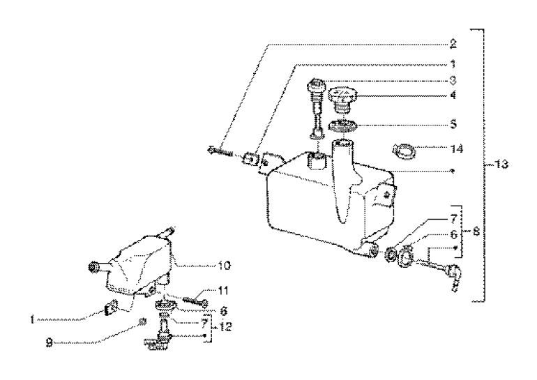
Zbiornik mieszanki oleju Gilera Runner 180cc FXR 2-suwowy

Zbiornik mieszanki oleju Gilera Runner 180cc FXR 2-suwowy
loader
Ładowanie...

Części zamienne Gilera Runner 180cc FXR 2-suwowy