USP Icon
Zapłać po dostawie
USP Icon
Klienci oceniają Zandri na 9
USP Icon
Ponad 100 000 części w asortymencie

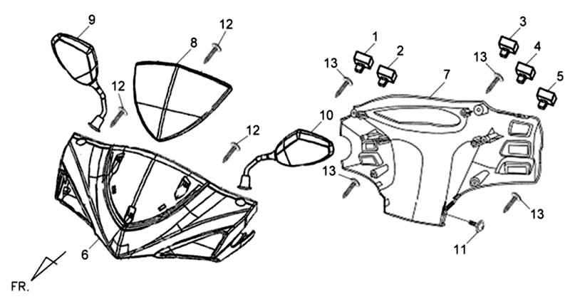
Obudowa na reflektor Lusterka Sym Symphony SR (WH006) biała

Obudowa na reflektor Lusterka Sym Symphony SR (WH006) biała
loader
Ładowanie...

Części zamienne Sym Symphony SR (WH006) biały