USP Icon
Zapłać po dostawie
USP Icon
Klienci oceniają Zandri na 9
USP Icon
Ponad 100 000 części w asortymencie

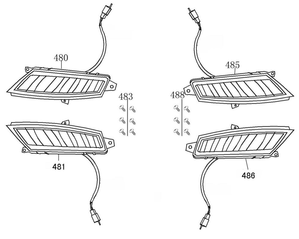
Wskaźniki Edwards Tomorrow Riva II ciemnoniebieskie

Wskaźniki Edwards Tomorrow Riva II ciemnoniebieskie
loader
Ładowanie...