USP Icon
Zapłać po dostawie
USP Icon
Klienci oceniają Zandri na 9
USP Icon
Ponad 100 000 części w asortymencie

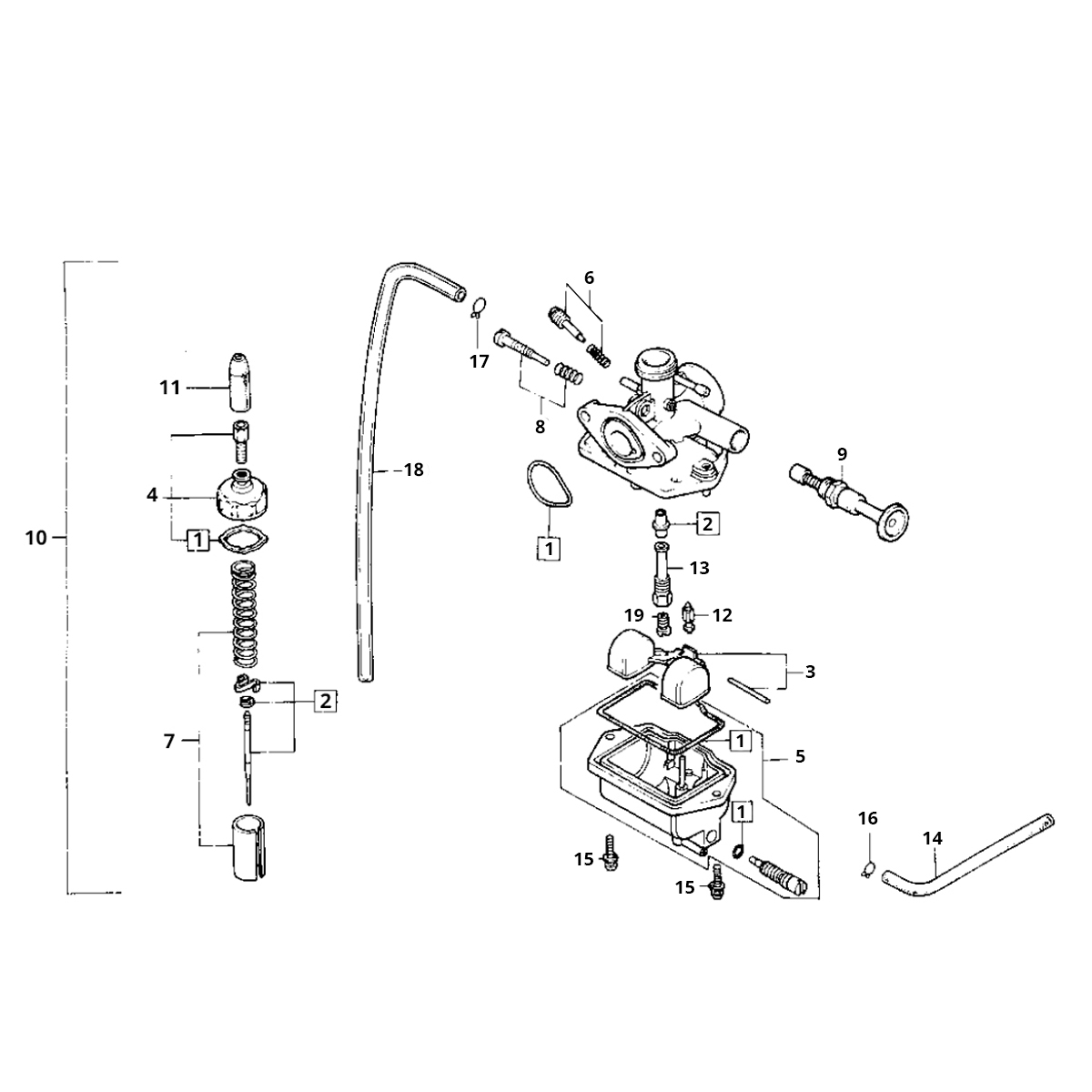
Honda MB/MT/MTX 80 gaźnik

Honda MB/MT/MTX 80 gaźnik
loader
Ładowanie...