USP Icon
Zapłać po dostawie
USP Icon
Klienci oceniają Zandri na 9
USP Icon
Ponad 100 000 części w asortymencie

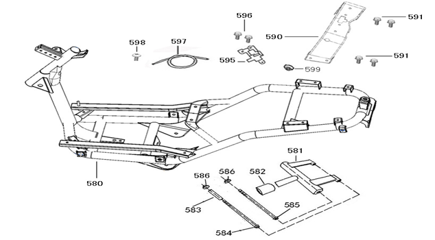
Części ramowe Neco Lola białe

Części ramowe Neco Lola białe
loader
Ładowanie...