USP Icon
Zapłać po dostawie
USP Icon
Klienci oceniają Zandri na 9
USP Icon
Ponad 100 000 części w asortymencie

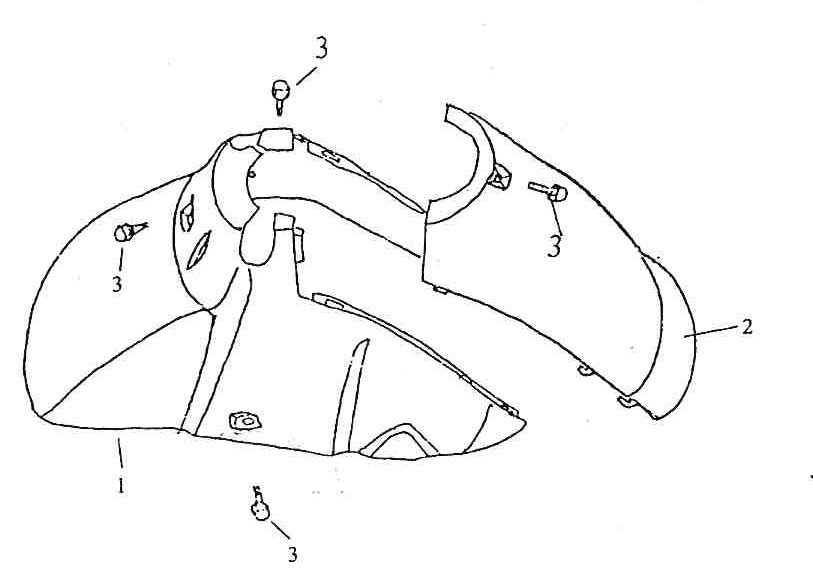
Błotnik przedni China Retro niebieski krem

Błotnik przedni China Retro niebieski krem
loader
Ładowanie...

Części zamienne China Grande Retro niebieski beżowy