USP Icon
Zapłać po dostawie
USP Icon
Klienci oceniają Zandri na 9
USP Icon
Ponad 100 000 części w asortymencie

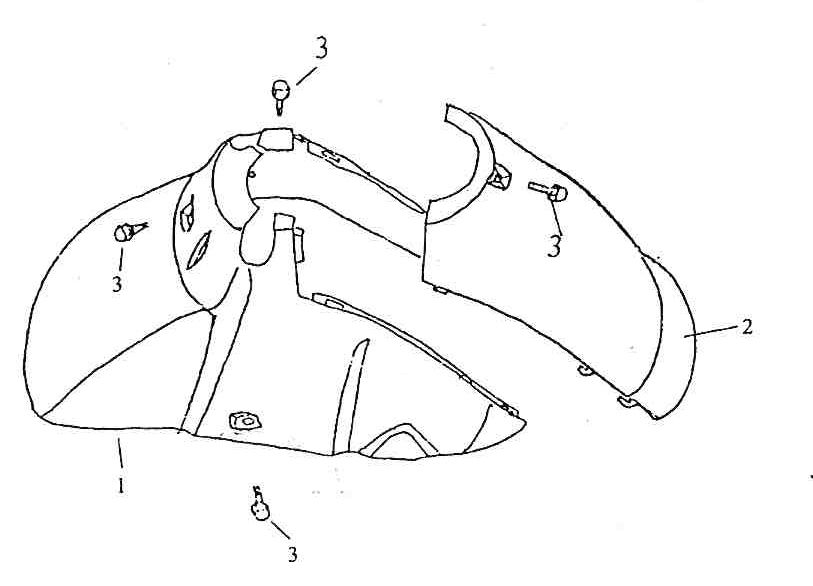
Błotnik przedni Rover Exclusive pomarańczowy

Błotnik przedni Rover Exclusive pomarańczowy
loader
Ładowanie...

Części zamienne Rover Exclusive pomarańczowy