USP Icon
Zapłać po dostawie
USP Icon
Klienci oceniają Zandri na 9
USP Icon
Ponad 100 000 części w asortymencie

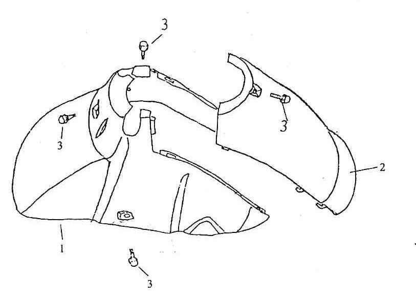
Błotnik przedni Eagle-Wing Torino czarny

Błotnik przedni Eagle-Wing Torino czarny
loader
Ładowanie...

Części zamienne Eagle-Wing Torino czarny