USP Icon
Zapłać po dostawie
USP Icon
Klienci oceniają Zandri na 9
USP Icon
Ponad 100 000 części w asortymencie

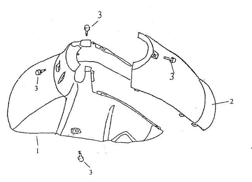
Błotnik przedni Lintex Retro HT50QT-29 biały

Błotnik przedni Lintex Retro HT50QT-29 biały
loader
Ładowanie...

Części zamienne Lintex Retro HT50QT-29 biały