USP Icon
Zapłać po dostawie
USP Icon
Klienci oceniają Zandri na 9
USP Icon
Ponad 100 000 części w asortymencie

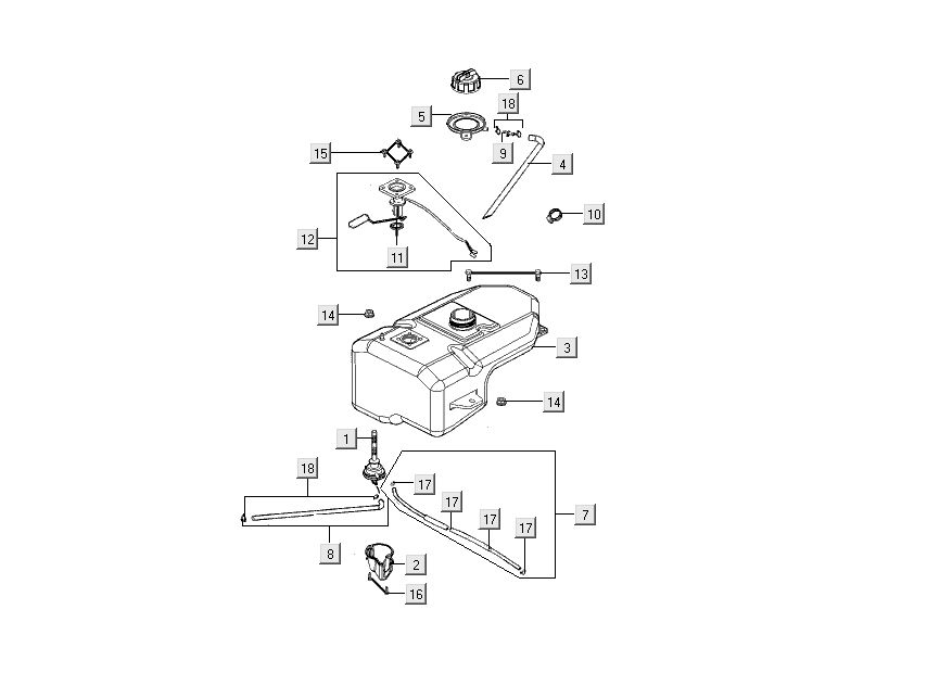
zbiornik benzyny Kymco People S 4-suwowy Elegance czarny

zbiornik benzyny Kymco People S 4-suwowy Elegance czarny
loader
Ładowanie...

Części zamienne Kymco People S 4-suwowy Elegance czarny